
.avif)
Did you know that YKK produces enough zippers every year to wrap around the world 50 times?
Zippers are part of our everyday lives without us even realizing it. The story of how the zip fastener evolved from the first fastening tools to today's modern fasteners is a great illustration of human creativity and the importance of protecting our intellectual property.
This article is part of our series on Nordic inventions, and it explores the history and development of zippers and highlights the inventors who patented them.

The idea of the zipper was in Elias Howe's mind long before today’s version was created by the Nordic inventor, and it became an essential part of everyday clothing. Best known for his revolutionary sewing machine, Howe received a patent in 1851 for a device he called the "Automatic, Continuous Clothing Closure". Howe did not commercialize his invention, the zip, despite its potential. He was preoccupied with the success of his sewing machine and the evolution of the zip was paused before it had really begun.
.avif)
Years later, Whitcomb L. Judson revived the simple vision of an effective clothing fastener. He patented the "Clasp Locker", a complicated hook-and-eye shoe fastener in 1893 and exhibited it at the Chicago World's Fair. Despite its cleverness, the Clasp Locker was not the product to revolutionize the shoe-fastener market. Judson's determination laid the foundations for the future of clothing fasteners, and his patent marked the true birth of the zip fastener as we know it today.
While Judson's efforts were creditable, it was another inventor's improvements that brought practicality and efficiency to the concept. The history of the zipper is a story of many development points, which eventually led to a tool that changed the textile industry forever.

The early 20th century saw significant improvements to the fastener by a Swedish inventor, Gideon Sundback. He turned the fastener from a novelty into a necessity. Sundback moved to the United States in the early 1900s and began working for the Universal Fastener Company. Not satisfied with the 'hook and eye' designs of the time, he started to improve their function and reliability.
By 1913, Sundback had re-engineered the device to feature interlocking teeth and a slider, a design so successful it was patented. His design was the turning point for the zipper, finally making it reliable and easy to use.
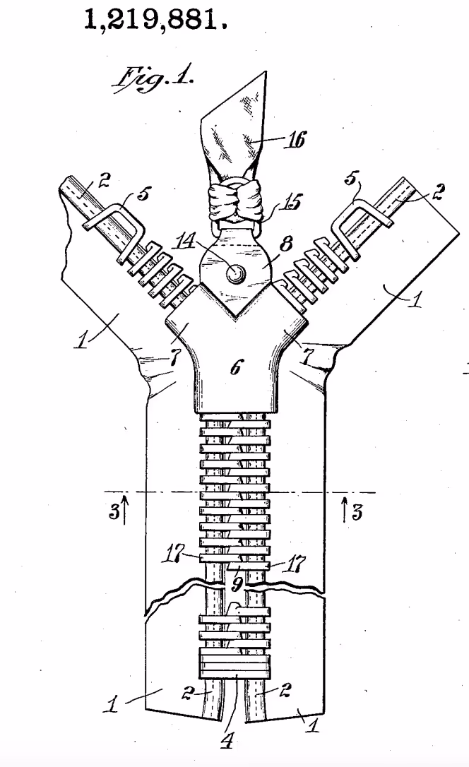
The practical design with a slider was introduced and patented as the "Separable Fastener" in 1917 with Patent No. 1,219,881. The term "Zipper" emerged in the 1920s when B.F. Goodrich used the device on boots and branded it with this catchy name.
The zipper, as it was later known, made its first significant appearance in the First World War, where it was used in flying suits and equipment. Its transition into fashion and consumer goods began in the 1930s, and by the mid-20th century, the zipper had become a staple of clothing, luggage, and countless other items.
The most defining features of the zip fastener are its simplicity and practicality. The mechanism hasn't changed much since Sundback's patent: two strips of fabric with metal or plastic teeth are pulled together and locked by a slider. Over time, innovations have led to improvements in strength, reliability, and simplicity of manufacture, with patents protecting each milestone.
The zipper journey demonstrates the Nordic spirit of continuous innovation and the impact of this seemingly simple invention on the global economy.
Learn more about another Nordic invention, the sauna stove.
Interested in a free IP renewal consultation? Benchmark your current IP renewal setup and costs against market standards.
