
.avif)
In this series, we highlight Nordic inventions that have shaped modern life through unique innovation and strategic patent protection.
This episode focuses on a now-common household item: the aerosol spray can. From pest control to personal care, this pressurized invention has reshaped industries. It all started with a Norwegian engineer’s patent idea almost a century ago.
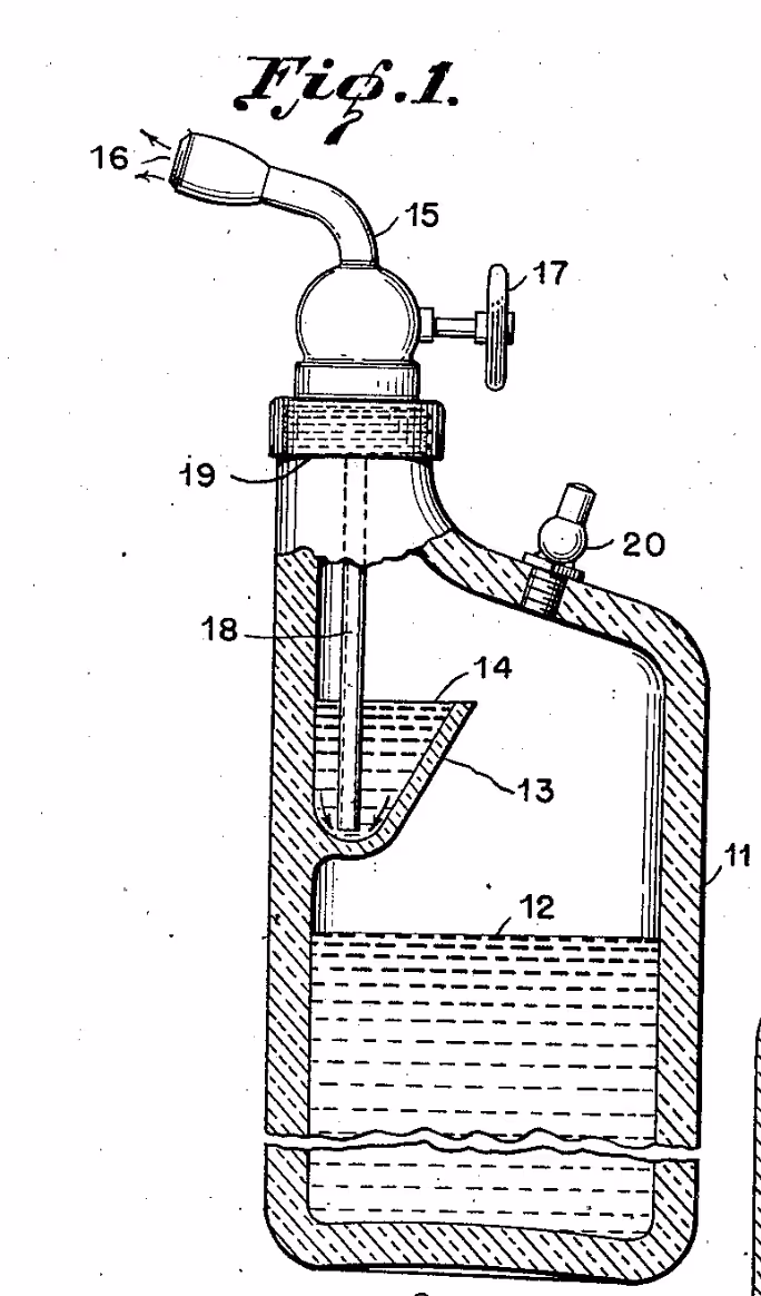
The story of the aerosol spray began in Norway in the 1920s, when Erik Rotheim, a chemical engineer from Oslo, developed a completely new method to spray liquids using gas pressure. He aimed to replace messy manual methods with something clean, efficient, and controllable.
In 1926, Rotheim filed a Norwegian patent for a system that could disperse liquid through a valve-controlled, pressurized canister using a liquefied gas propellant, specifically dimethyl ether. The design made the gas turn into vapor when it left the can, which pushed the liquid out as a soft, even spray. His invention was granted Norwegian patent number 46613 in 1929 and later recognized internationally with US patent 1800156A in 1931.

The device was ahead of its time, capable of atomizing everything from paint to perfume. Rotheim even teamed up with Alf Bjercke’s chemical factory in Oslo to begin production, resulting in the world’s first industrial spray can prototype in history.
However, the invention faced early hurdles. The flammability of dimethyl ether, high production costs, and nozzle clogging limited its market success. Although his invention didn’t achieve commercial success during his lifetime, it laid the technical foundation for the global spray can industry that followed.
Rotheim’s patent did more than describe a product, it safeguarded an entire system of delivery. The protected mechanism included:
These elements allowed for precise dosage, portability, and minimal waste.

The aerosol spray can didn’t become widely used until World War II, when two American scientists, Lyle Goodhue and William Sullivan, came up with a new version of the invention. In 1941, they created a small, pressurized can, nicknamed the "aerosol bomb" or "bug bomb" that sprayed insect repellent to protect soldiers from mosquito bites.
This was especially important in tropical areas like the Pacific, where diseases like malaria were a serious risk. Their design used gas pressure to spray the bug-killing liquid evenly and quickly, making it easy for soldiers to use in the field. They received U.S. Patent No. 2331117 on October 5, 1943, for a "dispensing apparatus".
Goodhue and Sullivan’s version shared similarities with the earlier ideas, like Erik Rotheim’s original patent, but was much more practical for real-world use.
After the war, people realized how useful this spray technology was, not just for the military but for everyday products. That’s when aerosol spray cans started showing up in homes and stores, used for paint, deodorant, air fresheners, and even medicine.

A major turning point in aerosol production came in 1949, when American inventor Robert Abplanalp developed the crimp-on valve. This small but critical innovation made it possible to seal aerosol cans efficiently and safely, solving one of the key challenges in mass production.
His invention was granted a patent in 1953 with the number US2631814 and quickly became the industry standard. With this breakthrough, manufacturers could finally scale up production for consumer products like shaving cream, room sprays, and more.
Today, aerosol spray cans are manufactured through a precise multi-step industrial process designed for safety, durability, and consistent performance.
In the 1950s–1970s, many aerosol cans used CFCs (chlorofluorocarbons) as propellants. Later research revealed that CFCs contributed to ozone layer depletion, leading to international regulatory action.
The Montreal Protocol, signed in 1987, initiated the phase-out of CFCs across countries. This prompted manufacturers to shift to safer alternatives like:
This move required re-engineering of spray can designs while still using the original valve and pressure mechanics. It’s a great example of how patented inventions can adapt to new global standards.
The aerosol spray can remains a multibillion-dollar innovation with use in almost every sector. Common applications include:
Its long shelf life, uniform delivery, and ease of use make it a versatile packaging and delivery technology.
The aerosol spray can demonstrates how even a simple idea, if patented and protected correctly, can lead to decades of global impact. Without Erik Rotheim’s original filing, the delivery system we now take for granted might have developed differently or more slowly.
At PatentRenewal.com, we support innovators by simplifying IP management. Our IP renewal software helps reduce renewal costs and keep your IP secure, so you can focus on what matters most: innovation.
Discover more about our services and how we support innovation through smart IP management.
Read about other Nordic inventions or visit our blog to receive the latest information about intellectual property types, IP industry insights, and related updates.
Interested in a free IP renewal consultation? Benchmark your current IP renewal setup and costs against market standards.
